ナイキの厚底シューズ特許を検索する
陸上競技界で話題になっているピンク色のシューズ、すなわち、ナイキの厚底シューズ(商品名:VaporFlyヴェイパーフライ)について、特許検索を行う際に注意すべきポイントを考えてみました。
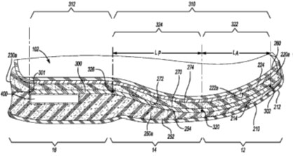
VaporFlyは分厚いソールが特徴的なランニングシューズであり、ソールの中にカーボンファイバーのプレートが埋め込まれており、高い弾発力が発生してランニングをサポートする機能を有しているようです。
対象とする特許
米国特許を対象に、出願人は「NIKE」、名称+要約+請求項中に「SOLE and PLATE」、さらに、全文中に「CARBON」を含むものを検索したところ、靴底がカーボンプレートをサンドイッチした構造になっているスポーツシューズに関する特許が、継続出願を含む数件見られました。それらの特許のうち、先に出願されていて、対応日本出願があり、靴底の構造に関するものとして「特表2018-534028:履物のための発泡体を伴う板」を題材として抽出しました。

特許分類について
特表2018-534028には3つのFIが付与されています。
A43B13/12:異質材を積層した履物の底
A43B13/14A:接地面の形状,構造に特徴のある履物の底
A43B13/20Z:弾性底のうち空気底に関するその他のもの
「カーボンプレートがサンドイッチされたソール構造」に対して付与される分類としては「A43B13/12」になると思われます。
キーワードについて
特表2018-534028では、以下の特徴を表すキーワードはどのように表現されているでしょうか?
「シューズ」;
発明の要部では「履物(footwear)」と表現されており、シューズ、靴といったキーワードは含まれていません。
「ソール」;
発明の要部では「ソール(sole)」と表現されており、靴底といったキーワードは含まれていません。
「カーボンプレート」;
発明の要部には、「板(plate)」もしくは「履物板(footwear plate)」と表現されており、プレートとかカーボンファイバーといったキーワードは含まれていません。
「弾発力」;
発明の効果の説明で使われそうな「弾発力」とか「反発力」といったキーワードは使われず、「機械的要求を増大させる」という表現になっています。
まとめ
今回の題材は、外国人の出願が日本で公表された公報であり、キーワード検索を実施する際に注意が必要となることを再認識させられました。
外国語表現が日本に移行する際に翻訳されて日本語で公表されるので、類義語を想定する際には翻訳表現の変化についてもケアしないとヒットさせられない可能性があるので注意が必要ですね。
以上


